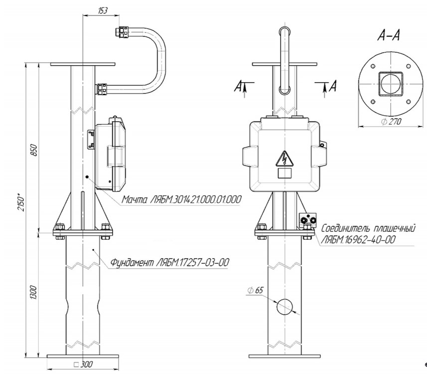
Стойка под радиолакационный индикатор скорости вагонов РИС-В
ЛЯБМ.301421.000.00.0000
ТУ BY 592002909.001-2023
Назначение и область применения
Стойка предназначена для крепления и коммутации подводимого монтажа к радиолокационному датчику скорости вагонов типа РИС-В

Вид климатического исполнения— УХЛ1 по ГОСТ 15150-69.
— Допускаемые механические воздействия по классу МС3 ГОСТ Р 55369-2012.
— Допускаемые климатические воздействия по классу К4 ГОСТ Р 55369-2012.
— Степень защиты муфты стойки от внешних воздействий — IP65 по ГОСТ 14254-2015.
— Покрытие стойки Гор. Ц50 ГОСТ 9.307-89 («Горячие цинковое покрытие»).

